通常では不可能だった、すそが長いリアバンパー等を引っ掛けての塗装が可能に!
塗装で使用する門型スプレースタンドへ簡単に追加できるアームです。
すそ部分を追加で固定することで、すその長いバンパーでも安定した位置を確保し、目線近くで塗装が可能です。
バンパーをスタンドに立て掛けた状態で塗装できるので、作業性がよく、色のトマリやムラが見やすく、ゴミ・ブツの付着率の低減や、品質と作業効率の向上も見込めます。
※塗装スタンドの支柱のサイズが直径28~32mmに取り付け可能。
~ GOD・アーム(2本組) ~
【使用イメージ】
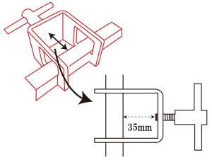
【寸法イメージ図】
【スライド&アーム 2本組】
- GOD・アーム(2本組) 詳細 -
| 商品名 | GOD・アーム (2本組) KGA-01 |
|---|---|
| 商品コード | 203087 |
| セット内容 | コの字スライド×2ケ 引掛けアーム×2ケ |
| 全長 | 630mm (フック箇所30mm含む) |
